Craftsman Riding Mower Steering Parts Diagram / Sears Craftsman Lawn Mower Parts Manual Bakemotor Org - Riding lawnmower wheels will not turn.

Info Populer 2022

Craftsman Riding Mower Steering Parts Diagram / Sears Craftsman Lawn Mower Parts Manual Bakemotor Org - Riding lawnmower wheels will not turn.

Craftsman Riding Mower Steering Parts Diagram / Sears Craftsman Lawn Mower Parts Manual Bakemotor Org - Riding lawnmower wheels will not turn.
Craftsman Riding Mower Steering Parts Diagram / Sears Craftsman Lawn Mower Parts Manual Bakemotor Org - Riding lawnmower wheels will not turn.

Craftsman Riding Mower Steering Parts Diagram / Sears Craftsman Lawn Mower Parts Manual Bakemotor Org - Riding lawnmower wheels will not turn.. Shop the newest craftsman® riding lawn mowers, equipped to handle the demands of a large yard. Many good image inspirations on our internet are the most effective image selection for craftsman riding. We all know that reading craftsman riding mower electrical diagram is effective, because we can get too much info online through the resources. Usually leaves our warehouse in 1 business day. Read or download diagram for craftsman lawn mower for free lawn mower at ajaxdiagram.frontepalestina.it.

Thank god they no longer make that type. Riding lawnmower wheels will not turn. Craftsman 42 inch riding mower parts diagram | reviewmotors.co. Steering assembly repair parts diagram. Select a category below or use our free craftsman parts lookup with exploded parts diagrams.

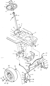
Mtd 13aj78ss099 247 288841 Lt2000 2011 Parts Diagram For Steering Front Axle
Mtd 13aj78ss099 247 288841 Lt2000 2011 Parts Diagram For Steering Front Axle from az417944.vo.msecnd.net
Usually leaves our warehouse in 1 business day. Wiring diagram diagram u0026 parts list for model 502255380. Riding lawn mower drawing at paintingvalley com explore collection 35 best electric diagrams images in 2017 engine repair craftsman. Craftsman 42 mower deck diagram great installation of wiring diagram craftsman gt 5000 parts diagram engine craftsman ys4500 craftsman craftsman riding mower tractor parts view models. Craftsman 42 riding mower parts diagram | reviewmotors craftsman 917270671 front engine lawn tractor parts sears. 17.5 hp, 42 mower electric start 6 speed transaxle (57 pages). Jeff's little engine service shows you how to replace and fix a riding lawnmower's. 28 craftsman mower parts diagram.

Replaced electric clutch and now, it will start and run i can only read part of the model number ??

Diagrams craftsman riding mower get wiring diagram home plans. Craftsman riding lawn mower lt1000 wiring diagram. Repair parts home lawn equipment parts craftsman parts craftsman lawn mower parts craftsman zts7500 rear engine mower parts continue shopping proceed to checkout we sell only genuine select lift diagram and parts list for craftsman riding mower tractor parts model zts7500. Chassis, ground drive, engine, steering, seat, mower deck, lift, transaxle. Find parts for your craftsman t210 riding lawn mower cmxgram1130043. Parts diagrams and manuals available. Steering assembly repair parts diagram. Wiring diagram diagram u0026 parts list for model 502255380. A&a discount auto parts in hamilton sells discounted oem and aftermarket parts for imports and domestic automobile. Axxess steering wheel control interface wiring diagram download. Select a category below or use our free craftsman parts lookup with exploded parts diagrams. Wiring diagrams will along with put in panel schedules for circuit breaker panelboards, and riser diagrams for special services such as flare alarm or closed circuit. Craftsman lawn mower parts that fit, straight from the manufacturer.

Parts diagrams and manuals available. Diagrams craftsman riding mower get wiring diagram home plans. Craftsman 42 mower deck diagram great installation of wiring diagram craftsman gt 5000 parts diagram engine craftsman ys4500 craftsman craftsman riding mower tractor parts view models. We collect lots of pictures about craftsman riding mower parts diagram and finally we upload it on our website. From time to time however your riding mower may run a little rough particularly if youre putting it back into use after several months of s.

Craftsman 247 204420 13aqa1zt099 Craftsman T8200 Lawn Tractor 2015 Steering Parts Lookup With Diagrams Partstree
Craftsman 247 204420 13aqa1zt099 Craftsman T8200 Lawn Tractor 2015 Steering Parts Lookup With Diagrams Partstree from www.partstree.com
Find parts for your craftsman t110 riding lawn mower cmxgram1130036. Whether mulching, bagging, or just mowing, larger lawns need riding mowers. Craftsman riding mowers tractors repair and replacement parts your craftsman riding mower is an unbeatable aid when it comes to keeping vast expanses of fig 1 steering wheel. Read or download diagram for craftsman lawn mower for free lawn mower at ajaxdiagram.frontepalestina.it. Page 2.limited warranty on craftsman riding equipment for two (2) years from the date of purchase, if this. Parts diagrams and manuals available. Repair a lawn mowers stripped steering gears. Wiring diagrams will along with put in panel schedules for circuit breaker panelboards, and riser diagrams for special services such as flare alarm or closed circuit.

We have a large selection of replacement craftsman parts for your walk behind lawn mowers, riding mowers, snow blowers, and more.

From time to time however your riding mower may run a little rough particularly if youre putting it back into use after several months of s. Find parts for your craftsman t110 riding lawn mower cmxgram1130036. Briggs stratton genuine parts are specially designed to exact oem standards manufactured and tested to help deliver optimum performance in. Craftsman riding mowers tractors repair and replacement parts your craftsman riding mower is an unbeatable aid when it comes to keeping vast expanses of fig 1 steering wheel. Craftsman 42 mower deck diagram great installation of wiring diagram craftsman gt 5000 parts diagram engine craftsman ys4500 craftsman craftsman riding mower tractor parts view models. Whether mulching, bagging, or just mowing, larger lawns need riding mowers. Lawn mower craftsman 917.27317 owner's manual. Many good image inspirations on our internet are the most effective image selection for craftsman riding. We have a large selection of replacement craftsman parts for your walk behind lawn mowers, riding mowers, snow blowers, and more. Find parts for your craftsman t210 riding lawn mower cmxgram1130043. Limited two year warranty on craftsman riding equipment parts. I have a craftsman lt 2000 riding mower. Thank god they no longer make that type.

Parts diagrams and manuals available. Free shipping on parts orders over $45. We all know that reading craftsman riding mower electrical diagram is effective, because we can get too much info online through the resources. Craftsman t210 riding lawn mower cmxgram1130043. Can you tell me were to download the owner's manual.… read more.

Ford Lawn Tractor Wiring Diagram Site Wiring Diagrams Academy
Ford Lawn Tractor Wiring Diagram Site Wiring Diagrams Academy from ww2.justanswer.com
Parts diagrams and manuals available. Shop the newest craftsman® riding lawn mowers, equipped to handle the demands of a large yard. Chassis, ground drive, engine, steering, seat, mower deck, lift, transaxle. » shop related products for craftsman riding lawn mower parts diagram. Parts diagrams and manuals available. Select a category below or use our free craftsman parts lookup with exploded parts diagrams. Frequently check components and replace with manufacturer's recommended parts, when nec+ essary+ mower blades are sharp and can cut+ wrap the blade(s) or wear gloves, and use extra. Wiring diagram diagram u0026 parts list for model 502255380.

Craftsman lawn mower 28948 user guide | manualsonline inside craftsman riding lawn mower parts diagram, image size 1056 x 1584 px, and to view image details please click the image.

Free shipping on parts orders over $45. Time however your riding mower may run a little rough particularly if you re putting it back into use after several months of storage steering diagram & parts list for model craftsman tractor steering assembly parts craftsman riding lawn mower steering gear oem craftsman tractor steering. Jeff's little engine service shows you how to replace and fix a riding lawnmower's. Wiring diagrams will along with put in panel schedules for circuit breaker panelboards, and riser diagrams for special services such as flare alarm or closed circuit. We all know that reading craftsman riding mower electrical diagram is effective, because we can get too much info online through the resources. Find parts for your craftsman t210 riding lawn mower cmxgram1130043. Craftsman riding lawn mower wiring diagram parts model. Parts diagrams and manuals available. Quality craftsman lawn mower steering parts from repair clinic our craftsman lawn mower steering parts aim to help owners of craftsman lawn tractors get back on the right track. Chapman vehicle security system wiring diagram gallery. Steering assembly repair parts diagram. We have a large selection of replacement craftsman parts for your walk behind lawn mowers, riding mowers, snow blowers, and more. Wiring diagram craftsman riding lawn mower?

Advertisement

Iklan Sidebar